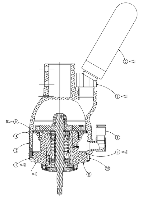
Ransburg TurboDisk Applicator Assembly
TurboDisk™ Applicator Assembly
The high speed applicator with superior atomization capabilities to handle even the most difficult coatings.
With the introduction of TurboDisk, Ransburg has set a new standard in providing electrostatic applicator solutions to the coatings industry. Integrating the TurboDisk produces substantially finer atomization due to its ability to generate much higher rotational speeds and transfer efficiencies. Proven quality improvements are realized with the widest range of coating materials including waterbornes and high solids.
Features:
- Serrated Edge Conical Disk: Turbodisk’s proprietary edge design provides superior atomization quality even at minimal rotational speeds
- Easy Access Fairing Design: makes external surface cleaning a labor-saving snap
- Dual Feed Fluid System: allows for higher fluid delivery rates and increased productivity
- Legendary Reliability: Turbodisk incorporates proven, long-term turbine motor reliability
- High Flow Regulators/Fluid Valves: allows for simultaneous paint push out while solvent washes the feed tube and disk
- Stainless Steel/Teflon Construction: majority of component assemblies are virtually impervious to fluids
- Enhanced Readouts: optional speed readout (control) incorporates reliable magnetic pickup for fiber-optic transmission of rotational speed data
- Easy Maintenance Design: upper and lower assemblies are easily fitted and latched for efficient and economical maintenance procedures
Literature:
A11376 Turbodisk Assembly Parts Breakdown
Table A - Basic Systems Kit w/ High Speed Air Motor
| Dash # |
Kit Part # |
Description |
| 1 |
70988-01 |
Downfeed Clockwise - No Tilt |
| 2 |
70988-02 |
Downfeed Counter-Clockwise - No Tilt |
| 3 |
70988-03 |
Upfeed Clockwise - No Tilt |
| 4 |
70988-04 |
Upfeed Counter-Clockwise - No Tilt |
| 5 |
70988-05 |
Downfeed Clockwise - No Tilt, Dual Feed Tube |
| 6 |
70988-06 |
Downfeed Counter-Clockwise - No Tilt, Dual Feed Tube |
| 7 |
70988-07 |
Upfeed Clockwise - No Tilt, Dual Feed Tube |
| 8 |
70988-08 |
Upfeed Counter-Clockwise - No Tilt, Dual Feed Tube |
| Mounting Nut # |
Description |
| 19836-01 |
NUT, SPECIAL, DISK MOUNTING, RIGHT HAND |
| 19836-02 |
NUT, SPECIAL, DISK MOUNTING, LEFT HAND |
Table B - Fairing
| Dash # |
Part # |
Description |
| 0 |
N/A |
None |
| 2 |
70158-02 |
Fairing |
Table C - Fluid Control Valve Kit
| Dash # |
Kit Part # |
Description |
| 5 |
70975-05 |
No Valves or Fluid Regulator |
| 6 |
70975-06 |
3-Way Valve, No Fluid Regulator |
| 7 |
70975-07 |
Trigger Valve with High Flow Fluid Regulator |
| 8 |
70975-08 |
Trigger & Dump Valve with High Flow Fluid Regulator |
| A-G |
70975-09 |
Trigger Valve with DR-1 Fluid Regulator |
| H-R |
70975-10 |
Trigger & Dump Valve with DR-1 Fluid Regulator |
| S |
70975-11 |
Trigger & Dump Valve with (2) DR-1 Fluid Regulator, 1:1 Ratio |
| DR-1 or High Flow Regulator # |
Description |
| 70171-04 |
REGULATOR ASSY, FLOW AUTOMOTIVE |
| 74151-01 |
REGULATOR, DR1, 2-STAGE,1:2 |
| 74151-02 |
REGULATOR,DR1, 2-STAGE,1:4 |
| 74151-03 |
REGULATOR,DR1, 2-STAGE,1:6 |
| 74151-04 |
REGULATOR,DR1, 2-STAGE,1:8 |
| 74151-05 |
REGULATOR,DR1, 2-STAGE,1:10 |
| 74151-06 |
REGULATOR,DR1, 2-STAGE,1:3 |
| 74151-11 |
REGULATOR,DR1, 2 STAGE,1:1 |
Table D - Hose For Paint System
| Dash # |
Part # |
Description |
| 0 |
|
None |
| 4 |
70977-04 |
3/8" OD; KIT, HOSE AND FITTING (LOW FLOWS) |
| 5 |
70977-05 |
1/2" OD; KIT,TUBE AND FITTING, RECIPROCATOR |
| 6 |
70977-06 |
1/4" OD |
Table E - Fiber Optic Pickup
| Dash # |
Part # |
Description |
| 0 |
|
None |
| 1 |
SMC-29 |
Fiber Optic Pickup; FIBER-OP TRANSMITTER-RPM |
Table G - Disk Type
| Dash # |
Part # |
Description |
| 00 |
|
none |
| 01 |
20485-62 |
Disk Assy., Serrated, 6", Aluminum, Not Anodized |
| 02 |
20485-65 |
Disk Assy., Serrated, 6", Aluminum, Anodized |
| 03 |
20485-92 |
Disk Assy., Serrated, 9", Aluminum, Not Anodized |
| 04 |
20485-95 |
Disk Assy., Serrated, 9", Aluminum, Anodized |
| 05 |
20485-122 |
Disk Assy., Serrated, 12", Aluminum, Not Anodized |
| 06 |
20485-125 |
Disk Assy., Serrated, 12", Aluminum, Anodized |
| 07 |
19830-06 |
Uni-Disk Assy., 6", Aluminum, Not Anodized |
| 08 |
19830-08 |
Uni-Disk Assy., 8", Aluminum, Not Anodized |
| 09 |
19830-10 |
Uni-Disk Assy., 10", Aluminum, Not Anodized |
| 10 |
19830-12 |
Uni-Disk Assy., 12", Aluminum, Not Anodized |
| 11 |
A14248-62 |
Disk Assy., 6" with PTFE insert, DLC Coated |
| 12 |
A14248-122 |
Disk Assy., 12" with PTFE insert, DLC Coated |
70988 Basic Systems Kit
| Part # |
Description |
| 78175-02 |
Air Motor, High Speed |
| 78175-12 |
Air Motor, High Speed |
| 70973-01 |
Basic Mounting Parts Kit |
| 70976-01 |
Feed Tube Kit |
| 70976-02 |
Feed Tube Kit |
| 70976-03 |
Feed Tube Kit |
| 19850-00 |
Disk Puller Assembly |
78166-00 Compressed Air Hose Assembly - Parts List (fig 15)
| Item # |
Part # |
Description |
Qty |
| 1 |
78164-00 |
Hose, 3/4" ID, Push-Lok Air |
5' |
| 2 |
78165-00 |
Fitting, Female SAE 45° Swivel x 3/4" ID Hose |
2 |
78170-00 Drive Air Regulator Assembly - Parts List (fig 14)
| Item # |
Part # |
Description |
Qty |
| 1 |
SSP-6439 |
Elbow, 1/4" OD Tube x 1/4" NPT, Male Swivel |
1 |
| 2 |
A11596-00 |
Fitting, 3/4" NPT x SAE 45°, Male Connector |
1 |
| 3 |
A11595-00 |
Regulator, 3/4 NPT Ported, Air Piloted |
1 |
| 4 |
SSP-6819 |
Tube Fitting |
1 |
| 5 |
LS0147 |
Regulator, 1" Ported, Manual Adjust Air |
1 |
| 7 |
GA-316 |
Gauge, 0-160 PSIG, 1/4" NPT, Air |
1 |
| 8 |
41-FP-1021 |
Nipple, 1" NPT x 3/4" NPT, Hex Reducing |
2 |
| 9 |
HAF-503 |
Air Filter, 3/4" NPT |
1 |
| 13 |
11021-23 |
Plug, 1/4" NPT Pipe |
ref. |
78781-00 Air Heater And Regulator Assembly - Parts List (fig 16)
| Item # |
Part # |
Description |
Qty |
| 1 |
78170-00 |
Regulator Assembly, Turbodisk Drive Air |
1 |
| 2 |
78166-00 |
Hose Assembly, Compressed Air |
1 |
| 3 |
A11065-05F |
Air Heater Assembly PXG Series Temp Control |
1 |
|
A11065-05C |
Air Heater Assembly Fuji PXG Series Temp Control |
1 |
| 4 |
78176-01 |
Tubing, 1/2" OD x 0.375" ID, Green Nylon |
200' |
70158-00 Fairing Assembly - Parts List (fig 17)
| Item # |
Part # |
Description |
Qty |
| 1 |
70157-02 |
Fairing |
1 |
| 2 |
70155-02 |
Bulkhead |
1 |
| 3 |
70381-00 |
Flange Support |
1 |
| 4 |
70909-00 |
Plug, Machined, Feed Tube Adjustment |
2 |
| 5 |
8156-32F |
Screw, 5/16-24 x 1" Lg. Hex Head |
2 |
| 6 |
7734-07 |
Lock Washer, 5/16" Helical Spring |
2 |
| 7 |
70656-32C |
Screw, Nylon, 3/8-16 x 1" Lg. Hex Head |
6 |
| 8 |
20559-09 |
Washer, Nylon, Flat, 3/8" ID |
6 |
78175-XX Turbodisk Air Turbine Assembly - Parts List (fig 18)
| Item # |
Part # |
Description |
Qty |
| 1 |
78174-00 |
Housing Assembly, Machined, Turbodisk Upgrade |
1 |
| 2 |
7735-10C |
Screw, #8-32 x 5/16" Long, Slotted Round Head |
8 |
| 3 |
7734-03 |
Lock Washer, #8 Helical Spring |
8 |
| 4 |
LS0135 |
Plug, Protective |
1 |
| 5 |
78163-00 |
Muffler, 1" NPT Polyethylene Exhaust |
1 |
| 6 |
78173-00 |
Fitting, Machined, Exhaust Muffler Adapter |
|
| 8 |
78168-00 |
Fitting, 1/2" NPT x 1/2" OD Tube |
2 |
| 9 |
7554-74 |
O-Ring, 4.239" ID x 0.070" CS, Solvent Resistant |
2 |
| 10 |
7716-12C |
Screw, #8-32 x 3/8" Long, Socket Head Set |
3 |
| 11 |
70879-406 |
Air Motor Assembly, Turbodisk |
1 |
|
70879-456 |
Air Motor Assembly, Turbodisk |
1 |
| 12 |
10773-16C |
Screw, #6-32 x 1.2" Long, Socket Head Cap |
6 |
| 14 |
7612-43 |
Drive Screw |
4 |
70879-XX Turbodisk Turbine Cartridge Assembly - Parts List (fig 19)
| Item # |
Part # |
Description |
Qty |
| 1 |
70873-00 |
Retainer, Bearing |
1 |
| 2 |
78232-12C |
Screw, #6-32 x 3/8" Long, Hex Socket, Flat Head |
12 |
| 3 |
70876-00 |
Slinger |
1 |
| 4 |
20298-00 |
Spacer, Bearing |
1 |
| 5 |
70896-00 |
Bearing, Ball |
2 |
| 6 |
7554-77 |
O-Ring, 1.614" ID, Solvent Resistant |
1 |
| 7 |
7554-73 |
O-Ring, 3.489" ID, Solvent Resistant |
1 |
| 9 |
8310-01 |
Key, Woodruff, 1/2" Dia. |
1 |
| 10 |
7729-10 |
Nut, Self-Locking 5/8-18, UNF |
1 |
| 11 |
20966-00 |
Seat, Spring |
1 |
| 12 |
70868-00 |
Spring, Compression |
1 |
| 13 |
70871-00 |
Screw, Set, Special |
1 |
| 14 |
70875-00 |
Housing, Bearing, Machined |
1 |
| 15 |
7554-17 |
O-Ring, 2.239" ID, Solvent Resistant |
1 |
| 16 |
20291-10 |
Plate, Nozzle |
1 |
|
20291-60 |
Plate, Nozzle |
1 |
| 18 |
70897-01 |
Shaft, Air Motor |
1 |
|
70897-02 |
Shaft, Air Motor |
|